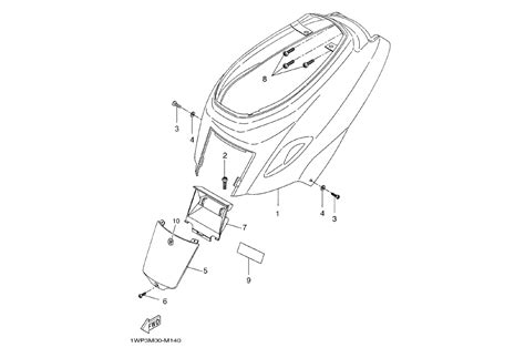
Exploded View Drawings With Parts For Mbk Booster 13 Naked 2016 Easyparts Order Scooter